故障案例 || 余壓監控系統
故障案例 || 余壓監控系統



消防應急疏散余壓監控系統通過余壓探測器采集防煙樓梯或前室與消防通道間的余壓值,通過無極性二總線上傳至余壓監控器,由監控器進行數據分析處理。當余壓超過設定范圍時,監控器發出聲光報警信號并對報警部位進行顯示和打印,同時監控器采用算法控制余壓監控器實時調節風閥執行器角度,控制正壓送風系統旁通閥的開啟和關閉,保證余壓值保持在安全范圍內。




EI-8360型余壓監控器最多可以配接多少個余壓控制器?

EI-8360型余壓監控器最多設置64個分區,每個分區只可配接一只J-EI8390型余壓控制器。單臺監控器配接J-EI8390型余壓控制器超過6只時需要單獨配接24V電源對J-EI8390型余壓控制器進行供電。

J-EI8390型余壓控制器是否具有液晶顯示功能和按鍵操作功能?

EI8390型余壓控制器為S總線型控制器,不具有液晶顯示和按鍵操作功能。
余壓探測器報警執行器不動作?

報警與控制不在同一分區,未打自動. 余壓探測器與控制器需要編程在同一分區,檢查主機自動模式和分區自動模式開關是否打開。
執行器開到位不顯示常開反饋?

反饋線未接好,檢查反饋線。

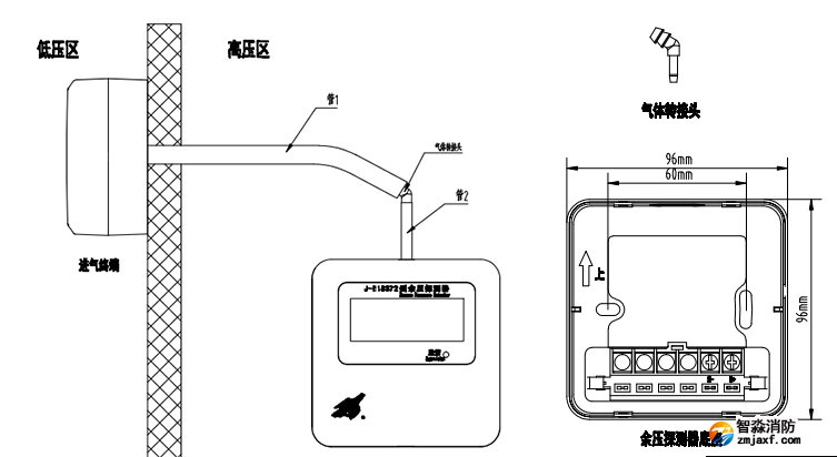
傳感器進入灰塵、氣管折疊

余壓探測器壓力傳感器的進氣口需要通過3mm軟管連接轉接頭,再連接5*8mm軟管到J-EI8380進氣終端。
備注:
余壓探測器所處空間可以檢測一路壓力,一般第二路壓力檢測需要使用軟管進行穿墻連接。


余壓探測器的兩進氣口不區分方向,安裝氣管時接口任意安裝。
監控器顯示執行器控制超時?

執行器長時間未啟動,執行器損壞或生銹或線路連接問題。

余壓監控器使用CAN總線進行組網,暫不支持和CRT進行通信連接。不支持相關機跨機聯動。
蘇州智淼消防主營:應急管理部發布最新消防檢測儀器設備全套配備、防雷檢測裝置,火災現場勘查箱、消防監督檢查驗收箱、消防測試煙槍、試水裝置、建筑消防設施檢測箱、電氣防火檢測設備等,消防檢測設備網址:http://m.humadex.cn/;電話:18910580194(何經理)
推薦文章
- 中庭在首層區域是否需要考慮人員的疏散?
- 為什么消防水泵房不能設置在地下三層及以下?
- 高壓細水霧+氣體滅火聯動程序,一文吃透
- 消防總隊回復:持結業證值班需承擔什么法律責任?
- 【消防安全管理25項記錄】從日常到應急全面覆蓋
- 知名企業“消防控制室無人值班”被罰4000元!
- 12月一批消防新規即將施行,涉及多個省市與行業領域
- 《文化旅游建筑消防設計技術要點》之暖通專業(含防排煙)
- 司法部《行政執法人員行為準則》全文:嚴禁越權執法、不作為、慢作為
- 氣體滅火系統管道管件材質要求






蘇公網安備32058102002157號